1. Giornata della Memoria: Se questo è un uomo, tutto su Primo Levi

    Tutto quello che c'è da sapere sul poeta e sulla sua opera più famosa 'Se questo è un uomo', che racconta l'orrore dei campi di concentramento nazisti.
    Carla Ardizzone

    di Carla Ardizzone

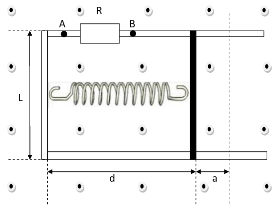
  2. 2016 Esempio di seconda prova di Fisica per gli esami di stato liceo scientifico

    La simulazione dell'esame di fisica per la maturità scientifica. Problema n. 1 In laboratorio è stato preparato il dispositivo rappresentato in Figura 1. La bobina è costituita da 100 spire rettangolari di rame i cui lati misurano 25 cm e 30 cm. La bobina può ruotare con attrito trascurabile intorno al suo asse e durante la rotazione le estremità del filo strisciano su due anelli conduttori, mantenendo con essi un contatto elettrico. La bobina è immersa in un campo magnetico uniforme e c
    Nicola Stanislao Vitale

    di Nicola Stanislao Vitale

  3. 2002 Tema di Fisica - Esame di stato di liceo scientifico Maxisperimentazione Brocca

    Il candidato svolga una relazione su uno solo dei seguenti due temi, a sua scelta, prestando particolare attenzione al corretto uso della terminologia scientifica. Primo tema L’effetto fotoelettrico rimase per lunghi anni un mistero fino alla scoperta delle sue leggi da parte di Albert Einstein e le attività sperimentali di Robert Andrews Millikan. Nel 1905, Einstein riuscì a fornire un’interpretazione del fenomeno i ntroducendo il concetto di fotone, la cui esistenza fu poi confermata dalla
    Nicola Stanislao Vitale

    di Nicola Stanislao Vitale

  4. 2015 Simulazione della seconda prova dell'esame di maturità di Fisica

    Lo studente deve svolgere un solo problema a sua scelta. Tempo massimo assegnato alla prove tre ore. Problema n. 1: Un generatore “IDEALE” Il tuo amico Luigi pensa di aver avuto un’idea geniale: ha progettato un generatore di tensione alternata che, una volta avviato, non necessita di ulteriore apporto di energia per il suo funzionamento se non quel poco che serve a vincere gli esigui attriti del dispositivo. Ti mostra la rappresentazione schematica sotto raffigurata descrivendola così:
    Nicola Stanislao Vitale

    di Nicola Stanislao Vitale

  5. 2000 Tema di Fisica - Esame di stato di liceo scientifico Maxisperimentazione Brocca

    Il candidato svolga una breve relazione su uno solo dei seguenti temi, a sua scelta. Primo tema Nella prima metà del secolo XX, dopo la scoperta che la radiazione elettromagnetica ha un comportamento duale, ondulatorio e corpuscolare, fu formulata l’ipotesi che anche la materia, considerata composta da particelle, potesse presentare caratteristiche ondulatorie. Il candidato: spieghi il significato dell’espressione “la radiazione ha un comportamento duale, ondulatorio e corpuscolare” e
    Nicola Stanislao Vitale

    di Nicola Stanislao Vitale

  6. 2006 Tema di Fisica - Esame di stato di liceo scientifico maxisperimentazione Brocca

    Il candidato svolga una relazione su uno solo dei seguenti due temi, a sua scelta, prestando particolare attenzione al corretto uso della terminologia scientifica e delle cifre significative nella presentazione dei risultati numerici. Primo tema L'effetto fotoelettrico, che presenta oggi tante applicazioni tecnologiche, si basa su una fondamentale interpretazione teorica che ha contribuito in modo essenziale allo sviluppo della Fisica contemporanea. Il candidato risponda ai seguenti quesiti
    Nicola Stanislao Vitale

    di Nicola Stanislao Vitale

  7. 2008 Tema di Fisica - Esame di stato di liceo scientifico Maxisperimentazione Brocca

    Il candidato svolga una relazione su uno solo dei seguenti due temi, a sua scelta, prestando particolare attenzione al corretto uso della terminologia scientifica e delle cifre significative nella presentazione dei risultati numerici. Primo tema All’inizio del secolo scorso il fisico tedesco Max Planck interpretò i risultati sperimentali relativi alla radiazione del corpo nero introducendo l’ipotesi della quantizzazione dell’energia. Questa ipotesi, intesa inizialmente solo come uno stratagem
    Nicola Stanislao Vitale

    di Nicola Stanislao Vitale

  8. 2010 prova scritta di fisica Liceo Scientifico Brocca

    La prova di fisica alla maturità scientifica, assegnata nel 2010 del progetto Brocca, svolta e commentata. Utile per esercitarsi alla prova di fisica. Il candidato svolga una relazione su uno solo dei seguenti due temi, a sua scelta, prestando particolare attenzione al corretto uso della terminologia scientifica e alle cifre significative e unità di misura nella presentazione dei risultati numerici. Primo tema Nel 1897, dopo oltre sessanta anni dai primi esperimenti di Faraday, modificando
    Super User

    di Super User

  9. Quanto ne sai di 'Notte prima degli esami'

    Non è solo una canzone, ma un film generazionale che segna ogni anno l'inizio della maturità. Ma quanto ne sai del film con Vaporidis?
    Carmine Zaccaro

    di Carmine Zaccaro

  10. Le 15 tesine più pazzesche che gli studenti hanno portato alla Maturità

    Gli studenti sono molto più creativi di quanto si possa pensare e lo dimostrano proprio alla Maturità, quando è il momento della tesina. Da Valentino Rossi ai Negramaro, fino al valore simbolico della...sedia. Ecco le più bizzarre e originali!
    Marcello Gelardini

    di Marcello Gelardini

  11. 2016 La prova svolta di matematica alla maturità scientifica, sessione ordinaria

    Le soluzioni ai due problemi e le risposte al questionario della seconda prova scritta di matematica della maturità 2016, per il Liceo Scientifico ordinario e Liceo Scientifico Opzione Scienze Applicate. Indirizzi: Scientifico e Scientifco opzione scienze applicate Traccia d'esame Traccia d'esame Soluzione del problema 1 Svolgimento completo del primo problema proposto all'esame. Soluzione del problema 2 Svolgimento completo del secondo problema proposto all'esame. Ris
    Super User

    di Super User

  12. Studiare meno ma meglio per il colloquio orale di maturità

    Orale di Maturità: qual è il metodo giusto per affrontare il super ripasso finale? Tutte le tecniche ed i consigli del formatore e youtuber Daniele Iavarone per aumentare il punteggio maturità orale.
    Carla Ardizzone

    di Carla Ardizzone

  13. Quanto ne sai del poeta italiano Giuseppe Ungaretti

    Dalla poesia "Soldati" fino ai versi più famosi delle sue raccolte. Dalla Grande Guerra alla sua vita privata, quanto ne sai di Giuseppe Ungaretti? Fai il quiz per scoprilo
    Carmine Zaccaro

    di Carmine Zaccaro

  14. Come vincere l'ansia e panico da esame di Maturità

    Se ansia e panico stanno prendendo il sopravvento, voi combattete! Skuola.net vi da le armi giuste per affrontare la maturità
    Cristina Montini

    di Cristina Montini

  15. Commissione esame di maturità: come era una volta

    Vi sembrerà strano ma, dietro ad ogni commissario esterno, c’è sempre un ex candidato alla maturità. I professori che voi vedete fissi in cattedra, ai loro tempi, stavano seduti tra i banchi.
    francesca_fortini

    di francesca_fortini

  16. 10 tips per i maturandi che si iscriveranno all'università

    Molti in questo periodo si preparano ad affrontare quel momento della vita universitaria che affolla gli incubi di generazione e generazioni di studenti: ma cosa succede se facciamo il paragone tra maturità e esami universitari?
    Andyb3105

    di Andyb3105

  17. Tesine maturità 2016 su Sicilia e il sud italia: collegamenti e materiale

    Il prossimo G7 si terrà in Italia e, più precisamente, nella meravigliosa Sicilia. E allora, perchè non collegarsi a questo evento per costruire una tesina di maturità proprio sulla Sicilia?
    Daniel Strippoli

    di Daniel Strippoli